氣動0.5s快速開關切斷閥的結構設計標準
更新時間:2015-09-22
上海川耐專業生產的氣動活塞式直行程機構和0.5s快關閥體組合的氣動0.5s快關閥,廣泛應用于自動化控制系統和設備上的緊急快關的場合,并且具有當氣源信號或電信號出現故障時, 或者當執行裝置的主要元件損壞時, 可把自動改為手動操作, 采用手輪機構繼續維持快關閥的快關功能。
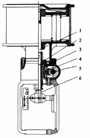
由于0.5s快關閥應用于快關介質的場合, 所以要求執行裝置的輸出力大, 相應手輪機構輸出的力也要求大。常用的頂式手輪機構不能滿足于此, 所以氣動活塞式直行程機構的手輪機構設計成側裝式(圖1) 。手輪機構采用2 個傳動副, 分別由蝸輪蝸桿和蝸輪絲桿組成。當轉動手輪時, 蝸桿蝸輪帶動絲桿和推桿做上下運動, 實現閥門的開啟或關閉。在蝸輪蝸桿傳動中, 蝸桿采用阿基米德螺線圓柱(ZA) 型, 螺旋方向右, 齒型角20°。

由于滑動速度小于8m/ s , 蝸桿材料選用45 鋼, 調質處理硬度為220~256HB , 蝸輪材料ZQAl9 - 4 。根據執行裝置的結構大小, 選定中心距a = 100mm , 蝸桿頭數z 1 = 4 , 蝸桿特性系數q = 9 , 螺旋升角γ= 23°57′45″, 蝸桿蝸輪模數m = 5 , 蝸輪齒數z2 = 2 a/ m- q = 31 , 傳動比i = z2/ z1 = 7175 , 符合要求。
氣動活塞式直行程裝置

1、 推桿 2、鍵 3、絲桿 4、蝸輪 6、螺母 圖1氣動活塞式直行程裝置
由于手輪機構屬于傳遞運動和動力的傳動裝 置, 所以絲桿選用梯形螺紋, 螺紋的旋向根據閥門中手輪順時針旋轉為閥門關閉, 逆時針旋轉為閥門 開啟的規律。確定梯形螺紋旋向為左旋。在動力傳遞中, 鍵的作用是為了防止絲桿在蝸輪中旋轉。

由于需要密封所以推桿的表面精度要求較高, 為了防 止與絲桿傳動時碰傷, 所以傳遞力從絲桿傳遞到推 桿時采用錐面結構。氣動活塞式執行裝置手輪機構設計合理, 效率高。操作者運用較小的力, 就可以 輸出較大的執行力。此手輪機構還可以很方便的應 用于輸出力較大的薄膜式執行裝置, 可廣泛應用于 工業自控系統中要求快關的場合。
工作時間:
周一至周五:?9:00-17:50
周六至周日:?值班
在線客服:
客服:??
客服: 
聯系方式:
聯系電話:?400-678-1620
聯系電話: 021-6722-8527
微信咨詢
主站蜘蛛池模板:
宜君县|
高阳县|
西贡区|
昌都县|
博乐市|
长武县|
临高县|
济阳县|
威宁|
嘉善县|
平谷区|
永康市|
通化县|
谢通门县|
嵩明县|
大同市|
白水县|
巩义市|
望城县|
德安县|
莎车县|
博爱县|
体育|
山丹县|
巴中市|
灯塔市|
贵溪市|
涟源市|
房产|
成都市|
砚山县|
西宁市|
司法|
翁源县|
吴江市|
肇源县|
嘉义县|
绥化市|
石阡县|
阳山县|
阳高县|